BACS für ATEX-Zone 1

BACS ATEX zertifiziertes Modul der Gerätegruppe II für die Zonen 1/21 und 2/22
Ab sofort verfügbar!
In der Öl- und Gasindustrie kommen je nach Anwendungsfall und Umgebung diverse Produkte mit unterschiedlichen ATEX-Zertifizierungen zum Einsatz. Während in einigen Bereichen, in denen keine explosionsfähigen Atmosphären auftreten können, gar keine Zertifizierung erforderlich ist, müssen in anderen Bereichen Produkte für die ATEX-Zonen 0, 1 oder 2 verwendet werden, was mit erheblichen Mehrkosten verbunden ist.
NEU
GENEREX bietet als einziger Hersteller ein BMS für die ATEX-Zone 1 / 21 und 2/22!
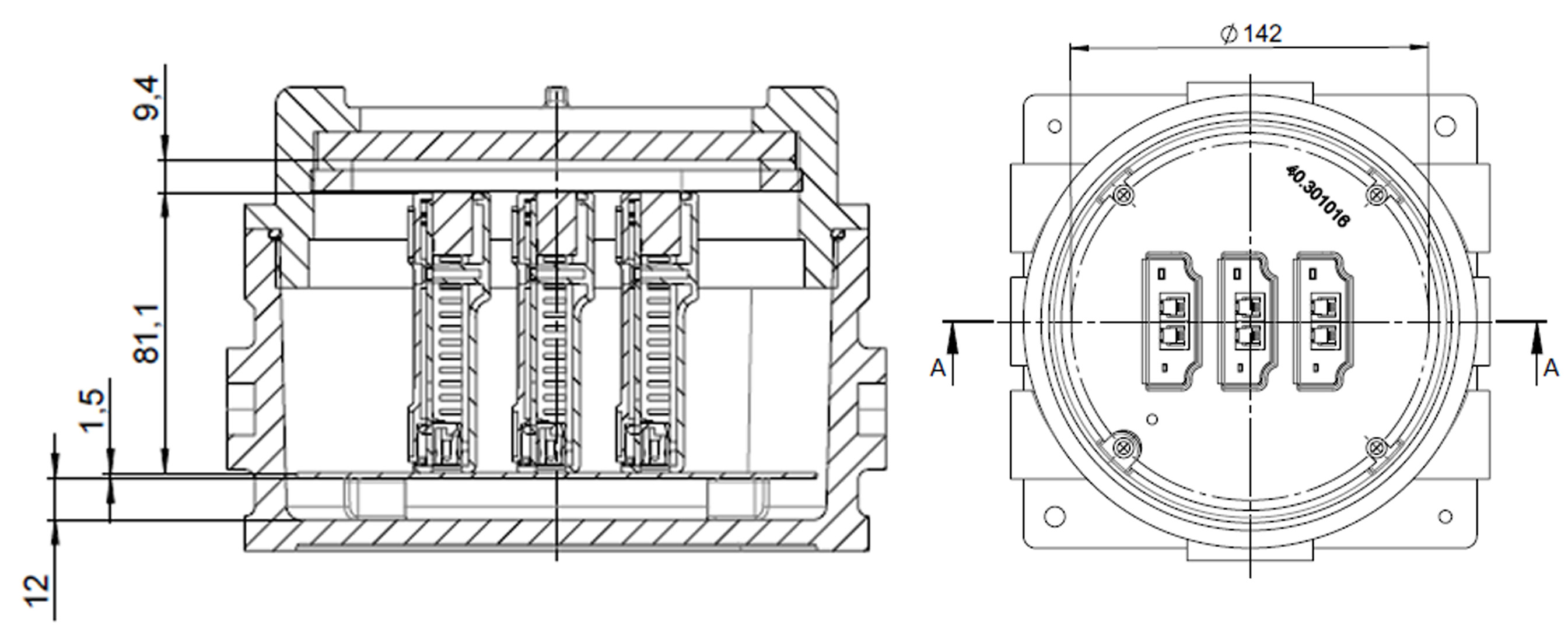
Die bewährten BACS C Module der Generation 3 werden seit 2010 gebaut und wurden mehr als 3.4 Millionen Mal verkauft. Damit ist BACS das meistverkaufte Battery Management Produkt für die kritische Stromversorgung und hat seine Robustheit und Zuverlässigkeit millionenfach bewiesen. Durch ein spezielles Schutzgehäuse mit bis zu 3 BACS-Modulen und Verwendung von Spezialkabeln ist BACS für ATEX-Gruppe II zertifiziert und kann in den Zonen 1 und 21 bzw. 2 und 22 eingesetzt werden. Als Schutzart wird eine druckfeste Verkapselung nach IEC60079-1 verwendet. Das Gerät ist für die Gasgruppe IIC (Typisches Gas: Wasserstoff) bzw. für leitfähige Stäube wie Metallstaub oder kohlehaltigen Staub spezifiziert. Das Modul lässt sich der Temperaturklasse T5 – bis 100°C zuordnen.


ATEX-Codes:
Zone 2: II 3G Ex dc IIC T5 Gb bzw. II 3D Ex tc IIIC T100°C Db
Zone 1: II 2G Ex db IIC T5 Gb bzw. II 2D Ex tb IIIC T100°C Db
Die 3 BACS C Module (Standardlieferumfang) werden auf einer im Gehäuse verankerten Basisplatine montiert geliefert und sind bereits ab Werk untereinander verbunden. Sämtliche Batterie-Messkabel (je 1.5 m lang) werden gasdicht herausgeführt. Im Messkabel der Minusleitung ist ein Temperatursensor im Kabelschuh verbaut, daher ist das Minuskabel geringfügig dicker als das Pluskabel. Auf der Basisplatine befinden sich 6 Hochspannungssicherungen (die sonst in den Messkabeln verbaut sind), die nun einfach austauschbar sind. Im Reparaturfall kann jedes BACS-Modul einzeln von der Basisplatine abgelöst und durch ein neues ersetzt werden.
Alle 3 Module zeigen mit den LEDs nach oben, so dass man durch die Scheibe im Gehäuse deren Betriebszustand direkt einsehen und bei der Programmierung der Adressen den Adressierungsschalter einfach erreichen kann. Die Batteriemesskabel sind verfügbar mit Ringkabelschuhen M5, M6, M8, M10 oder M12. Alle Kabel sind halogenfrei und für die Verwendung in explosionsgefährdeten Bereichen geeignet.
Die Abmessungen in den nachfolgenden Zeichnungen sind in Millimeter. Die Gesamthöhe beträgt 146mm. Die Form ist quadratisch, somit ist die Breite über alle Seiten gleich und beträgt 190 mm.

Einfache Montage und Inbetriebnahme, selbst bei Nachrüstung
Bei der Neuinstallation werden die Druckgehäuse vom Installateur geöffnet und die BACS-Datenleitung zwischen den einzelnen Gehäusemodulen verlegt. Jedes Cxxex3 Modul verfügt über zwei EX – zertifizierte Kabeldurchführungen, um die BACS Datenleitung ATEX-konform nach den Installationsarbeiten zu versiegeln. Da die BACS-Messkabel bereits vorinstalliert sind, müssen im Anschluss lediglich noch die Batterien angeschlossen und die Module nach bekanntem Schema über den im BACS WEBMANAGER integrierten BACS-Programmer initialisiert werden.

Auf- und Umrüstung von Bestandsanlagen
Durch das Design der neuen Gehäuse für die BACS ATEX-Lösung können bestehende BACS-Installationen einfach und intuitiv ohne großen Aufwand auf ATEX "aufgerüstet" werden. Das ATEX-Gehäuse und die dazugehörigen Kabel können in einer "unbestückten“ Version geliefert werden - nach der Installation müssen die bestehenden Systemmodule nur noch in die einzelnen ATEX-Gehäuse "eingesteckt" und entsprechend abgedichtet und angeschlossen werden. Auf diese Weise muss Ihr Kunde seine bestehende BACS-Investition nicht opfern oder wegwerfen, um die ATEX-Zertifizierung zu erreichen!

Zurück zum
Nächster Artikel